 |
Consociazione a piante comari in tartufaie coltivate
| Autore |
Messaggio |
|
sgurz74
Iscritto il: 01/12/2013, 11:04 Messaggi: 280
Formazione: laurea
|
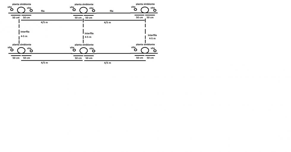
Ciao Tarty, grazie della risposta. Mi risulata che le vanghette miracolo arrivano a lavorare a trenta cm di di profondità non è un po' troppo? Poi non è pur sempre un meccanismo che rovescia il terreno? Dai video youtube sembra proprio di sì! Hai testimonianze dirette di utilizzatori che possano rassicurare sulla validità del mezzo? Poi volevo dire, esulando dalla mia situazione (di poco spazio e scarsi mezzi): una consociazione come pensata nel disegno che vi allego. con le viti (quelle giuste) allevate ad alberello (niente fili stesi sulla fila) non risolverebbe anche i problemi del passaggio dei trattori? Rendendo al contempo possibile la consociazione? Della serie "Viti maritate 2.0..."  Grazie dell'attenzione.
Allegati:
Consociazione a vite.jpg [ 23.92 KiB | Osservato 3485 volte ]
|
| 18/08/2016, 9:25 |
|
 |
|
|
 |
|
sgurz74
Iscritto il: 01/12/2013, 11:04 Messaggi: 280
Formazione: laurea
|
Anzi scusa lavorano a 40/45 cm...! 
|
| 18/08/2016, 12:43 |
|
 |
|
Tarty81
Iscritto il: 02/10/2012, 12:16 Messaggi: 3385 Località: abruzzo
Formazione: Maestro di musica
|
Ciao non penso arrivi a quelle profondità....si che lo vista. un paio di anni fa a un seminario sulla tartuficoltura dove oltre ad illustrare i metodi di coltivazione c era anche la prova in campo.....quindi se hai poco spazio e perfetto...il trucco sta nel lavorare a pochi giri..! Se comunque le piante sono poche il miglior attrezzo per me rimane..."la zappa".....saluti
_________________ Azienda Agricola MicoVivai Produzione piante da tartufo certificate. www.micovivai.it @micovivai
|
| 18/08/2016, 16:39 |
|
 |
|
sgurz74
Iscritto il: 01/12/2013, 11:04 Messaggi: 280
Formazione: laurea
|
Grazie delle dritte, ne farò tesoro! E... A questo punto provo a consociate con le viti, anche perché qualche pianta adatta c'è già!
|
| 18/08/2016, 23:36 |
|
 |
|
sgurz74
Iscritto il: 01/12/2013, 11:04 Messaggi: 280
Formazione: laurea
|

Ciao a tutti, riporto in cima questo topic perchè a distanza di tempo ho trovato un articolo sull'effetto dei funghicidi sulle micorrize, rilevante per quanto riguarda la consociazione con la vite. Flavio la sconsigliava perchè l'irrorazione di funghicidi sulla vite non favorirebbe lo sviluppo del tuber. In realtà stando agli studi citati in questo articolo c'è funghicida e funghicida... penso inoltre che questo articolo possa interessare anche coloro che devono fare trattamenti antiperonosporici nella tartufaia a prescindere dal tema consociazione. Riporto la parte interessante dell'articolo:
" Esistono numerose pubblicazioni che parlano degli effetti dei fungicidi sullo sviluppo di micorrize arbuscolari, i risultati sono molto diversi tra prove effettuate in laboratorio su substrati avvelenati, in cui la quasi totalità dei fungicidi risultano tossici per il simbionte fungino, e prove effettuate in campo dove la tossicità del fungicida era ridotta. Pochi sono i prodotti che usati per trattamenti fogliari sono "completamente innocui" per i simbionti micorrizici, tra questi annoveriamo i prodotti a base di rame, quelli a base di zolfo e le fenilammidi (es. metalaxyl); altri fungicidi sistemici irrorati per via fogliare , ad esempio gli IBS, uccidono i funghi micorrizici (fenarimol, bitertanol, difenoconazole, prochloraz, fenpropimorph, fenpropidin, spiroxamine, fenhexamid). Molti altri fungicidi non li uccidono ma ne limitano l'attività simbiotica. In alcuni casi invece, l'uso di fenilammidi ha addirittura incrementato la percentuale di micorrizazione perché il fungicida ha eliminato dal "sistema suolo" i competitori delle micorrize. Sono da evitare i fumiganti e i fungicidi per i trattamenti al terreno perchè quasi sempre danneggiano in modo serio il simbionte fungino. Nel caso di inevitabili trattamenti potenzialmente fungi tossici conviene re-inoculare il terreno con un prodotto contenente funghi micorrizici arbuscolari dopo un periodo corrispondente al tempo di carenza del prodotto usato."
L'uso di fenilammidi dunque renderebbe possibile la consociazione e potrebbe dunque addirittura favorire lo sviluppo del tuber! Ciao.
|
| 29/04/2017, 10:50 |
|
 |
|
Tarty81
Iscritto il: 02/10/2012, 12:16 Messaggi: 3385 Località: abruzzo
Formazione: Maestro di musica
|
Di quale micorizza parli? L ecto, l endo, o endoectomicorrize? Classe ascomiceta ,o basidiomiceta...? A parte questo non capisco neanche perche si dovrebbe usare funghicidi!
_________________ Azienda Agricola MicoVivai Produzione piante da tartufo certificate. www.micovivai.it @micovivai
|
| 29/04/2017, 22:04 |
|
 |
|
coliso
Iscritto il: 15/05/2016, 21:06 Messaggi: 481 Località: Udine
|
Probabilmente si riferisce ai funghicidi usati nei trattamenti della vite penso.... Comunque secondo me il discorso piante comari vale in natura come indicatore di zona vocata , nel caso di tartufaie coltivate meno concorrenza c'è e meglio cresce e si sviluppa la pianta che interessa non ho mai letto di tartufaie coltivate con piante comari messe appositamente. Esistono poi degli studi sui batteri presenti nelle tartufaie che sembrano svolgano un ruolo fondamentale nella germinazione delle spore ma non ho idea di quali possano essere i fattori che ne influenzino la presenza.....
|
| 29/04/2017, 22:13 |
|
 |
|
sgurz74
Iscritto il: 01/12/2013, 11:04 Messaggi: 280
Formazione: laurea
|
L'articolo si riferiva alle endomicorrize. Sì, i funghicidi sarebbero necessari nella consociazione a vitis vinifera (a meno di non consociare con nuovi vitigni resistenti alle malattie) tipo Bronner, Solaris e altri. Testimonianze dirette, (qualche post indietro ne citavo una), sul fatto che, ad esempio, nel territorio di norcia, le migliori tartufaie naturali sono in vecchi vigneti abbandonati... questo non so se basta a mettere in crisi il principio della non competizione tra piante... Chissà se ci sono studi sull'argomento, io avevo letto in giro che la presenza di piante comari migliora le condizioni biologiche e fisiche del suolo... Chissà magari qualcuno può illuminarci!
|
| 30/04/2017, 21:29 |
|
 |
|
coliso
Iscritto il: 15/05/2016, 21:06 Messaggi: 481 Località: Udine
|
Che io sappia le ex vigne sono sempre state indicate ottime come terreni per tartuficoltura in quanto la vite non sviluppa ectomicorizze. Anche in Francia avevano notato che le migliori tartufaie stavano in terreni ricchi di rame , salvo poi scoprire che nella maggior parte dei casi erano tutti terreni ex vigneti. Poi ovviamente dipende dal tipo di vite in quanto a seconda della varietà ci sono vari terreni che riescono ad esaltare le uve e i vini prodotti. Tendenzialmente i terreni a vocazione vinicola possono essere idonei anche per tartuficoltura sempre che le condizioni pedo-climatiche siano favorevoli alle piante e al tipo di tartufo scelti.
|
| 30/04/2017, 22:08 |
|
 |
|
coliso
Iscritto il: 15/05/2016, 21:06 Messaggi: 481 Località: Udine
|
Comunque tornando al discorso funghicidi nelle tartufaie sembra siano in corso sperimentazioni , soprattutto in fase di produzione delle piante micorrizate , nell'utilizzo di alcune sostanze che inibiscono i competitori del tartufo e che pare abbiano uno scarsissimo impatto sulle micorrize "buone". In un terreno vergine da competitori una pianta ben micorrizata avrà vita molto facile con ottime rese produttive e un'esempio lampante è la produzione di tartufi australiana.
|
| 25/08/2017, 11:26 |
|
|
Chi c’è in linea |
Visitano il forum: Nessuno e 6 ospiti |
|
Non puoi aprire nuovi argomenti Non puoi rispondere negli argomenti Non puoi modificare i tuoi messaggi Non puoi cancellare i tuoi messaggi Non puoi inviare allegati
|
|
 |