Messaggi senza risposta | Argomenti attivi Oggi è 23/03/2026, 15:13




Rispondi all’argomento  [ 6 messaggi ] 
Sistema di abbeveratoio antigelo 
Autore Messaggio
Avatar utente

Iscritto il: 05/05/2008, 14:08
Messaggi: 646
Rispondi citando
Ciao a tutti, vi posto l'idea di Domenico Imperatrice che ha brevettato un particolare tipo di abbeveratoio per animali che impedisce all'acqua di congelare in inverno e ala rende più fresca in estate grazie al continuo movimento del flusso d'acqua.

A me sembra un'idea molto utile. Lui lo usa da diverso tempo nel suo allevamento.

Di seguito le parole del'inventore e disegno dell'abbeveratoio:

"Salve, mi chiamo Domenico Imperatrice e allevo per hobby colombi ornamentali.
Mi sono reso conto nel tempo, che i nostri animali dovendo vivere nelle voliere,
per motivi di selezione, sono più sacrificati rispetto agli animali che vivono liberi.
Uno dei problemi principali è in inverno quando l'acqua gela negli abbeveratoi
e in molti casi gli animali rischiano di non averne a disposizione
se non all'arrivo del loro guardiano.
Inoltre anche in estate il problema non è da meno, per il semplice motivo che negli abbeveratoi,
essendoci acqua rafferma, questa raggiunge temperature molto elevate, creando rischi di contaminazione
della stessa .
Visto quindi il nostro costante interesse di poter migliorare la vita
degli animali nelle voliere ho messo a punto un meccanismo che consente di evitare le problematiche
sopra indicate. I benefici di tale impianto sono ovviamente estensibili anche in altri campi dell'allevamento (ad es. canili...).
Nel mio allevamento amatoriale ho modo di utilizzare quotidianamente detto impianto constatando così
direttamente la sua utilità".

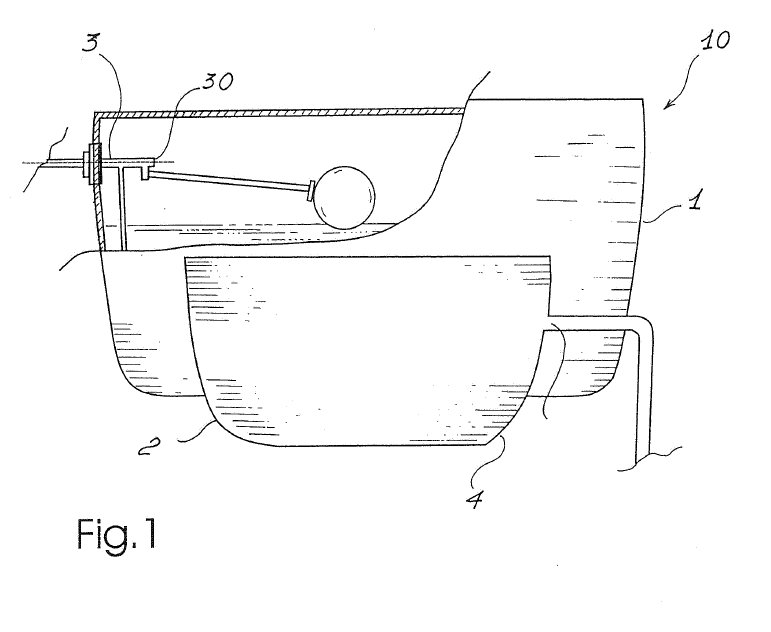
Particolare del serbatoio + beverino

Allegato:
beverino1.jpg
beverino1.jpg [ 42.15 KiB | Osservato 7699 volte ]

Allegato:
beverino3.jpg
beverino3.jpg [ 56.2 KiB | Osservato 7699 volte ]


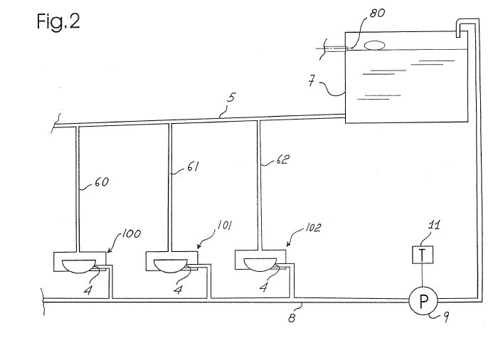
schema dell'impianto completo:
Allegato:
beverino2.jpg
beverino2.jpg [ 28.35 KiB | Osservato 7699 volte ]


Nel disegno la "P" rappresenta la pompa che fa circolare l'acqua nell'impianto con relativo filtro.

Cosa ne pensate?
A me sembra una soluzione molto valida.

_________________
qui est de avibus, quae simul se pulverant, et lavant


28/02/2011, 16:37
Profilo

Iscritto il: 17/04/2010, 20:01
Messaggi: 2236
Formazione: perito industriale
Rispondi citando
Grazie, l idea è buona anche se a temperature molto basse anche l' acqua in movimento potrebbe congelare, non vedo serpentine di riscaldamento.
Ho un impianto simile , senza riciclo e filtraggio, ma siccome i beverini sono a circa 70 cm dal pavimento non ho grossi problemi di sporco e per il gelo lo vediamo una volta ogni 2/3 anni per un giorno solo.
Ninno


28/02/2011, 20:12
Profilo
Avatar utente

Iscritto il: 05/05/2008, 14:08
Messaggi: 646
Rispondi citando
Ciao ninno, il sistema è stato provato anche a -13°C e l'acqua non congelava. Il sistema non utilizza serpentine riscaldanti, è sufficiente il continuo movimento dell'acqua a far si che non ghiacci. Anche d'estate mantiene l'acqua più fresca e soprattutto impedisce il proliferare delle zanzare che prediligono acque rafferme.
Inoltre essendo dotato di un semplice filtro che rilascia cloro nell'acqua tiene sotto controllo la carica microbicrobica della stessa.

Il sistema puo essere adattato anche per altri allevamenti di avicoli o altri animali.

Fabio

_________________
qui est de avibus, quae simul se pulverant, et lavant


02/03/2011, 18:27
Profilo
Avatar utente

Iscritto il: 23/11/2008, 22:02
Messaggi: 337
Località: prunarolo di vergato
Rispondi citando
E una buona idea ma purtropo o una problema dove sono i colombi non o corente. Per la luce o rimediato con paneli solari e lampadine a led ma non sono abastanza per fare corente per una pompa mi po dare un ideea qualquno


02/03/2011, 20:15
Profilo YIM WWW

Iscritto il: 06/11/2010, 0:51
Messaggi: 637
Località: Ponza (LT)
Formazione: perito apparati impianti marittimi
Rispondi citando
un piccolo pannello solare da 50 cmq con batteria per auto, anche da 50Ah, come accumulatore per la notte ed una pompetta a 12v per la nautica. :D :D
Però io il serbatoio lo terrei sottoterra (non sotterrato ma ispezionabile) dove la temperatura e più stabile e più difficilmente scende sotto lo zero, e d'estate tiene l'acqua più fresca, ed è anche più facile a sistemare gli abbeveratoi a sifone avendo una maggiore pendenza e poi coprire il serbatoio perché anche se circola ma ce una vasca da 30 litri le zanzare proliferano
Io ne ho costruito uno del genere non per problemi di temperature ma x le zanzare :D :D


02/03/2011, 21:12
Profilo
Avatar utente

Iscritto il: 23/11/2008, 22:02
Messaggi: 337
Località: prunarolo di vergato
Rispondi citando
Grazie per la risposta, adeso in 2 di voliere o una tanica di 15L con robineto e izolata con dei paneli izolanti e mesa la alteza di circa 2 metri da la con tubini vano al abevatori che sono presi in comrcio e ano loro il galegiane, cozi forse riesco a fae le modifiche senza una speza tropo grande. In estate non mi piace tenere la aqua tanto tempo lo facio cambiare a la matina e sera , e o dei vazi picolini de 2-3 L due per oni voliera un giorno uo uno altro giorno laltro.


02/03/2011, 21:38
Profilo YIM WWW
Visualizza ultimi messaggi:  Ordina per  
Rispondi all’argomento   [ 6 messaggi ] 

Chi c’è in linea

Visitano il forum: Nessuno e 5 ospiti


Non puoi aprire nuovi argomenti
Non puoi rispondere negli argomenti
Non puoi modificare i tuoi messaggi
Non puoi cancellare i tuoi messaggi
Non puoi inviare allegati

Cerca per:
Vai a:  
POWERED_BY
Designed by ST Software.

Traduzione Italiana phpBB.it
phpBB SEO

Informativa Privacy